SKU : CH-5

Chariot DELTA BLUE à vis

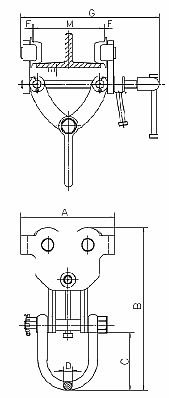
Delta Blue

Chariot DELTA BLUE réglable par vis - Facilement déplaçable.
Capacités de 500 kg à 10 Tonnes
Déplacement par poussée sur la charge.
Pour plus d'informations, cliquer ici
Incl. 0,00% TVA
Pour plus d'informations :

Devis gratuit et rapide   OU   +32 4 344 08 24
Chariot porte palan DELTA GREEN à pousser Delta Green Chariot porte palan DELTA GREEN.
Capacités de 500 à 20000 kg...
Détails
Chariot à pousser DELTA YELLOW réglable Delta Yellow Chariot DELTA YELLOW, manuel à poussée sur la charge - Réglable en ...
Détails
Griffe à poutrelle DELTA Delta Griffe à poutrelle DELTA - Placement vertical ou horizontal.
C...
Détails
Palan manuel à chaîne DELTA BLUE avec limiteur Delta Blue Palan manuel à chaîne DELTA BLUE avec limiteur de charge
Ca...
Détails
Un chariot simple, facile à utiliser, et à  déplacer.  Il s’utilise volontiers pour des travaux temporaires.
Il est utile  dans d’innombrables applications.
Aucun besoin de rondelles d’ajustement ou d’écrou  de fixation, il suffit de tourner la manivelle pour ajuster le chariot au profilé de roulement, et ensuite de bloquer la manivelle avec le levier prévu à cet effet. 
L'usinage spécifique des galets permet son placement sur tout type de profilé ( ailes planes ou inclinées ) 
Il est pourvu d’un système anti-déraillement.
Ne nécessite aucun entretien particulier, un simple graissage de la partie roulement.
Capacités de 500 – 1000 -2000 -3000 et 5000 kg.